Contact mdi

Call Us:
727-835-0669

Call Us:
727-835-0669

Get Free Quote:
Contact Form
sales@
hosetractsales.com

 Hours:
7:00AM - 7:00PM ET
Monday - Friday

Model MB 335

Oil / Lube/ATF Hose Reels

Spring Retractable

Model MB 335 Oil / Lube/ATF Hose Reels from Hosetract

  Models

Drag your finger across the table to scroll

Model MB 335
Series B
Weight (lb) 32
Hose ID (in) 3/8
Hose Length (ft) 35
Pressure (PSI) 2500
Inlet (in) 3/8 FPT
Hose Included yes
Max Temperature °F 200

  Features

B Series Reels are best used with shorter and lower volume hose operations, such as auto-truck service garages for all air applications as well as anti-freeze, motor oil, ATF and grease. The all brass main shaft and swivel assure less corrosion for extended seal life the low pressure rating (up to 1000 PSI).

Reels shipped standard (sf) hose payout position. For ceiling mount add suffix "sc".
Mounting Slots 3/8" wide x 3/4" deep for max 5/16" dia. bolt

LB - Low Pressure Reels for Air, Water and Anti-freeze

MB - Medium Pressure Reels for Motor oil and ATF. Standard 1-wire braid hose furnished.

HB - High Pressure Reels for Grease. Standard 2-wire braid hose furnished.

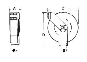
  Dimensions

Dimensions for MB 335 Reels from Hosetract



Drag your finger across the table to scroll

A 5 1/4
B 2 3/4
C 14
D 14 7/8
E 4

  Contact mdi

Please fill out the form below and your personal mdi product expert will email you your quote. The more information that you provide the quicker we can send you a quote. Sending an incomplete quote request could mean that we have to contact you for necessary information before sending your quote. And know that our knowledgeable sales staff is standing by to help you with your order and with any questions.






Please include your contact information so that we may reply to your request. Your contact information is private and will not be sold to any third party or used negatively in any way.











mdi does not advertise prices online. The cost of products is subject to change over time. In order to extend to you the best price that we can offer, we prefer to create written and emailed quotes which reflect any discounts or promotions currently available. Some products can be quoted over the phone, and expediting quotes and orders is always available per request.

See our Terms and Conditions for more information about the mdi sales process.


Call us any time Monday through Friday 7:30 AM to 7:00 PM ET.

Phone: (813) 241-4900 | Toll Free: 800-761-4298
Fax: (813) 571-0422 | Email or Fill Out the Form Above